本说明向您展示如何更换卡特彼勒 950F 挖掘机的发动机滤清器
卡特彼勒 ET 2021B 2019C 2018A 电子技师软件免费下载
必须注意确保在产品的检查、维护、测试、调整和维修过程中包含流体。
在打开任何隔间或拆卸任何包含流体的组件之前,准备好用合适的容器收集流体。
有关适用于收集和容纳 Caterpillar
产品上的流体的工具和用品,请参阅特别出版物 NENG2500,“Caterpillar 工具和商店产品指南” 。
根据当地法规和要求处理所有流体。
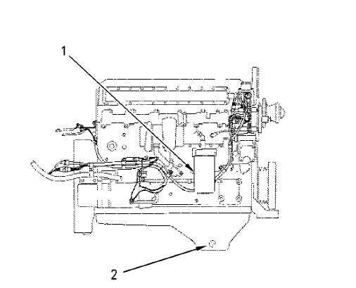
1. 打开位于机器左侧的检修门。2. 用带式扳手拆下滤芯 (1)。检查过滤器。参考:请参阅操作和保养手册,“机油滤清器 - 检查”。

Caterpillar SIS 2021 完整 EPC+服务手册免费下载
3. 用干净的布清洁过滤器安装座。确保使用过的过滤器垫圈已完全去除。
4. 在新滤芯的密封面上涂上一层薄薄的清洁发动机油。
5. 用手安装新滤芯。当垫圈接触过滤器底座时,将过滤器再拧紧 3/4 圈。
6. 打开曲轴箱排放阀 (2)。让油排入合适的容器中。关闭曲轴箱排放阀。
7. 打开位于机器右侧的检修门。拆下注油塞 (3)。
用新机油加注曲轴箱。
参考:请参阅操作和维护手册,“润滑剂粘度”和操作和维护手册,“容量(补充)”。
8. 清洁注油塞并安装注油塞。
9. 启动发动机并让油变热。检查是否有泄漏。
10. 检查油尺 (4) 中的发动机油位。
参考:有关
正确的程序,请参阅操作和保养手册,“发动机机油油位 - 检查” 。
11. 停止发动机。关闭发动机检修门。
